Dublin: 1 °C Wednesday 19 November, 2025

Ever smashed your phone? Apple's new invention could change your life

The pain of having a cracked screen could become a thing of the past.

ANYONE WHO HAS ever dealt with a broken iPhone screen will tell you that it’s tantamount to injuring a limb.

Aside from dealing with relentless questioning as to how you broke your screen (“I dropped it”) and having to readjust your eyes so you can read messages/see who’s calling through the cracks, there’s also the frustration of knowing you can’t afford a new one and must live with the consequences.

The struggle is very real. Blood-pouring-from-your-fingers real.

You feel like you’re just not really together.

Yes, it’s a struggle that many of us have valiantly dealt with, but it could soon become a thing of the past.

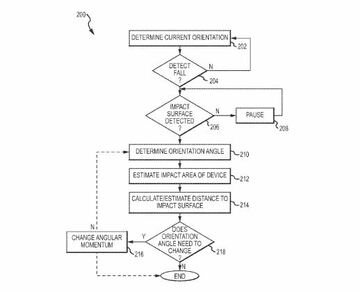
Apple has filed a patent for a new protective mechanism that would prevent your glass screen from shattering.

The patent was just approved by just approved by the U.S. Patent and Trademark Office and could prove to be pretty life-changing for the klutzes among us.

The invention would be able to detect when your iPhone is in freefall and calculate exactly how fast it is falling and when it will reach the ground.

It would then employ the use of a motor to shift its centre of gravity and avoid causing damage to either the screen or camera.

patent Source: USPTO

applepatent The patent for the device. Source: USPTO

It isn’t the first time someone has tried to patent a device to save your iPhone. Back in 2011, Amazon’s Jeff Bezos filed a patent for ‘phone airbags’.

Apple’s one looks like it may just become a reality, though.

You know what that means? No more of this nonsense.
https://vine.co/v/MA3DeTdxD2Z

Rejoice.

The new iPhone 6 is bending in people’s pockets >

Why are people drenching their iPhones in Coca Cola? >

About the author:

Amy O'Connor

Read next:

COMMENTS (33)